比特币减半日期:减半对您的比特币有什么影响?
在加密货币领域中,很少有其他像比特币减半一样具有分量且备受期待的事件。这一过程大约每4年进行一次,对整个加密货币领域有着重大的影响,经常引发区块链社区内部的激烈辩论。想要真正理解比特币减半的重要性,就务必了解其含义及其受到万众瞩目的原因。
什么是比特币减半?
比特币减半,又称“Halvening”,指比特币协议中每210,000个区块会发生一次的预编码事件(大约每四年一次)。该事件会减少矿工验证区块链交易所获得的奖励。该过程旨在控制新比特币的发行并保持其稀缺性,从而确保比特币供应量有限。从本质上讲,减半是将给予矿工的奖励减少一半。
中本聪(化名)于2008年发布了最早的比特币白皮书,其中明确规定将比特币的供应量限定为2,100万枚。实行这种固定供应机制是为了防止通货膨胀并模仿黄金等贵金属的稀缺性。该协议致力于通过调节比特币的生成速度,创建一种积年累月后仍保值或升值的通货紧缩货币。
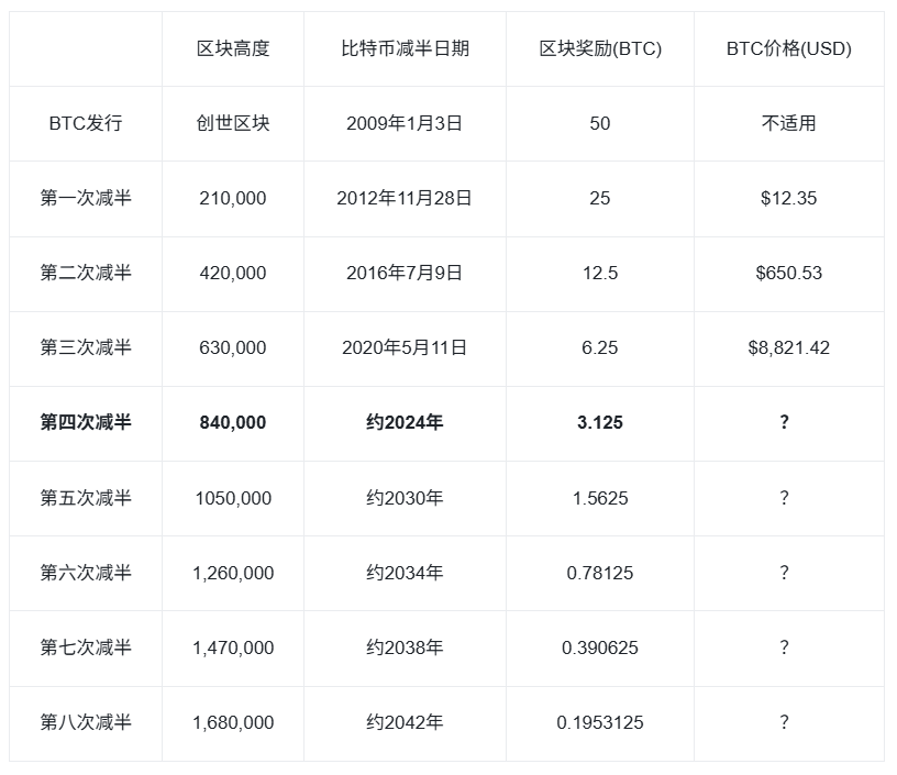
因此,比特币减半在控制新比特币进入流通的速度方面发挥着关键的作用,能逐渐减缓新比特币的生成。当比特币在2009年首次出现时,矿工每成功将一个区块添加到区块链,就会获得50 BTC奖励。
第一次减半事件发生在2012年,区块奖励减少到了25 BTC。随后的2016年和2020年的减半事件,进一步分别将奖励降至12.5和6.25枚比特币。下一次比特币减半将把区块奖励减少至3.125 BTC,预计于2024年4月进行(届时区块高度达到840,000)。

减半对您的比特币有什么影响?
比特币减半事件发生后,您现有的比特币持有量将保持不变。减半过程不会直接影响您持有的比特币数量。但该过程会间接影响比特币价格和加密货币生态系统的方方面面,这也正是投资者、交易者和加密货币爱好者如此关注的原因。以下是比特币减半意义重大以及人们应该关注的几大原因:
1.供需动态
比特币减半会降低新比特币的生成速度,因此供应方面会受到限制。这反过来会影响供需之间的平衡,有可能会导致比特币市值的变化。基本经济学原理表明,当供给减少而需求保持不变或增加时,资产的价值可能会上升。投资者对稀缺性增加的预期通常会导致其对比特币的投资兴趣和投机活动增加。
2.市场波动性
从历史上看,比特币减半与加密货币市场的波动性加剧相关。投机者和投资者会密切监测该事件前后的市场动态,视图预测该事件对比特币价格的影响。这种预期通常会加剧价格波动,导致交易活动增加。
3.对矿工的影响
由于挖掘新区块的奖励减半,比特币挖矿的盈利能力会受到直接影响。奖励减少可能会给矿工带来挑战,尤其是对于能耗高且硬件效率低的矿工来说。矿工需要评估减半后的运行可行性,并相应调整策略。这通常会导致挖矿领域的变化,规模较小或效率较低的矿工可能会被挤出市场,而规模更大、资源更丰富的矿工则继续蓬勃发展。
4.技术和社区发展
比特币减半是一个重要的里程碑,引发了区块链社区内部的讨论和辩论。该事件激励开发人员和利益相关者探索创新解决方案,应对比特币生态系统动态变化带来的挑战。这种推动技术进步的事件通常会导致旨在提高比特币网络的可扩展性、效率和安全性的新工具、协议和计划的开发,最终促进其长期可持续性和增长的发展。
5.长期投资影响
对于长期投资者而言,比特币减半是凸显比特币通货紧缩性质和价值储存潜质的关键事件。减半事件带来的比特币稀缺性是可预见的,这一特点使比特币成为对抗通货膨胀和经济不稳定的对冲工具,吸引了寻求投资组合多元化的个人和机构。减半事件强化了比特币作为数字黄金的叙事,导致其有可能逐渐大幅升值,进而增强了其作为长期投资资产的吸引力。
比特币减半倒计时
如上所述,下一次比特币减半预计将在2024年4月(届时区块高度达到840,000)进行。为方便追踪,您可以在币安比特币减半页面查看减半倒计时。
结语
比特币减半不只是技术调整,而是加密货币生态系统中塑造比特币未来的叙事和发展轨迹的基本支柱。每次减半事件的开展都会增加围绕比特币内在价值、比特币在更广泛的金融格局中的作用及其作为数字金融领域变革力量的潜力的讨论。